اینطور که به نظر میرسد اپل ممکن است پروژهی عینک هوشمند خود با نام رمز اپل گلس (Apple Glass) را احیا کرده و بار دیگر به این ایده بازگردد. یک پتنت و درخواست ثبت اختراع جدید به مکانیزم لولای مخصوص عینک اشاره میکند که احتمالاً به شایعات پیرامون عینکهای واقعیت افزوده (AR) اپل ربط دارد. این خبر پس از معرفی اپل ویژن پرو از راه میرسد که هدستی گرانقیمت با فناوری پیشرفته و متمرکز بر روی تجربیات واقعیت افزوده است. اگرچه هدست ویژن پرو دستگاهی قدرتمند برای تجربهی واقعیت افزوده محسوب میشود، اما شایعات از رویکرد متفاوت اپل گلس حکایت میکنند.
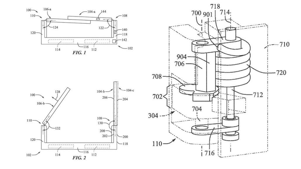
این پتنت جدید یک «مکانیسم لولای دو محوره» را توصیف کرده است که به دستههای عینک امکان باز شدن به شیوههای مختلف را میدهد و حتی شامل حالتی برای باز شدن بیش از حد معمول میشود که قابلیت کاربردی و مفیدی جهت بالا بردن دوام این عینکهای هوشمند و راحتی بیشتر کاربرانی که سرهای بزرگتری دارند خواهد بود.

این طرح همچنین محافظت از قطعات الکترونیکی عینک هوشمند در هنگام تاشدن یا در حالت باز استاندارد را در اولویت قرار میدهد. علاوه بر این، لولای عینک مذکور بهطور خودکار در حالتهای خاص تنظیم و قفل شده و میتواند بهراحتی برای اندازههای مختلف سرهای کاربران مورداستفاده قرار بگیرد.
یکی دیگر از جزئیات جالب این پتنت، اشاره به کابلهایی است که از طریق لولا عبور میکنند و احتمالاً برای اتصال بلندگوها یا سایر قطعات واقع در دستهها کاربرد دارند. با توجه به این نکته، گجت موردبحث احتمالاً بهجای طراحی شبیه به هدست اپل ویژن پرو، از فرم فاکتور مشابه عینک برخوردار باشد.
باید به این موضوع توجه داشت که پتنتها لزوماً به محصولات نهایی ختم نمیشود و به سرانجام نمیرسند. با این حال، پتنت مذکور نگاهی اجمالی به تلاشهای تیم تحقیقوتوسعهی اپل را ارائه میکند و نشان میدهد که این غول فناوری ممکن است ایدهی عینک هوشمند خود را با تمرکز بر پوشش راحتتر و طراحی سادهتر بازنگری کند.
منبع: Gizmochina























![بازی Horizon Steel Frontiers معرفی شد؛ یک MMO برای PC و موبایل! [تماشا کنید]](https://aero-tech.ir/wp-content/uploads/2025/11/9158-1-horizon-steel-frontiers-scaled.jpg)

