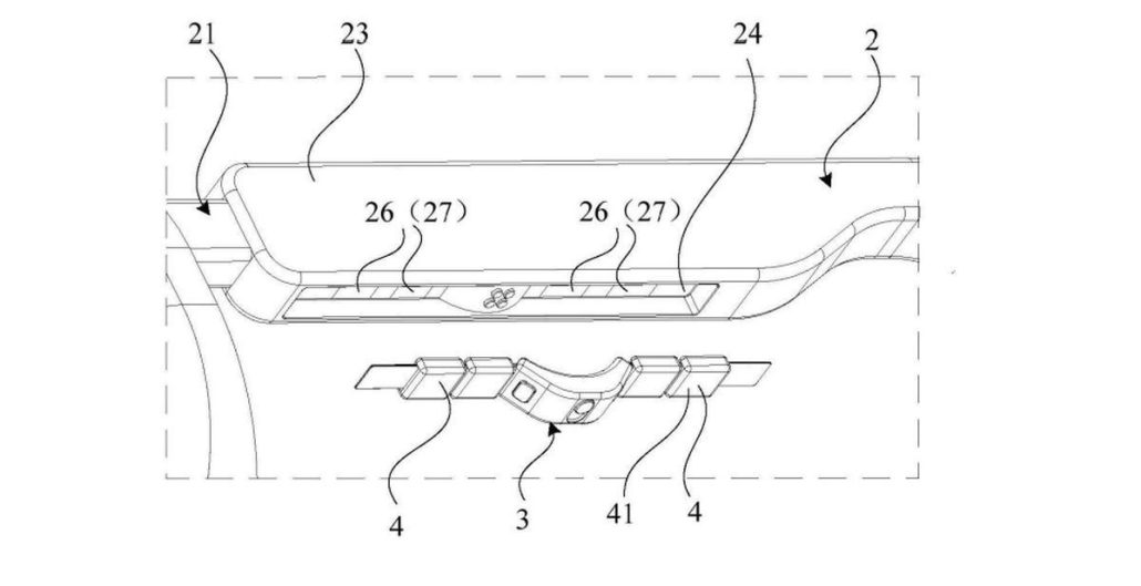
بر اساس یک درخواست ثبت اختراع جدید، هواوی ممکن است در حال کار روی عینکهای AR/VR باشد. این عینکها دارای یک بند قابل جابجایی نسبتاً نوآورانه هستند که به یک حلقه تبدیل میشود و میتوانید از آن برای کنترل رابط کاربری عینک در حالیکه روی انگشت شماست استفاده کنید. بهصورت دقیقتر، در مورد تشخیص حرکت، اشاره و ناوبری صحبت میکنیم.
این بند وقتی در هدست قرار میگیرد، میتوانید از آن برای کارهای سادهای مانند ضربه زدن و کشیدن انگشت استفاده کنید. در زمان اتصال به هدست نیز بهطور خودکار شارژ میشود. این بدیهی است که نیاز به یک کنترلر جداگانه را از بین میبرد و در تئوری یک راه حل بسیار خوب است. البته باید دید که در عمل چقدر خوب کار میکند!
البته این فقط یک درخواست ثبت اختراع توسط هواوی است. این بدان معناست که این شرکت مدتی را صرف توسعه آن کرده است، اما تضمینی نیست که در نهایت به یک محصول واقعی تبدیل شود.
منبع: Gsmarena






![چرا گوشی اندرویدی شما با حداکثر سرعت شارژ نمیشود؟ [ راههای رفع مشکل]](https://aero-tech.ir/wp-content/uploads/2025/12/9432-1-why-your-android-phone-isnt-charging-at-full-speed.jpg)





















